Database Schemas
This document describes the high level design for IBEX. Eventually there should be outlines of the architectural design for each part of the high level design.
Experiment Details Database

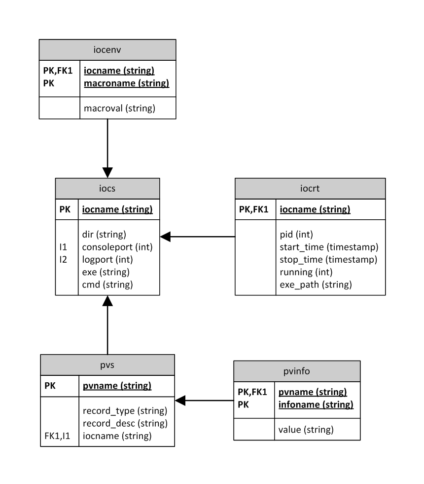
IOC Database

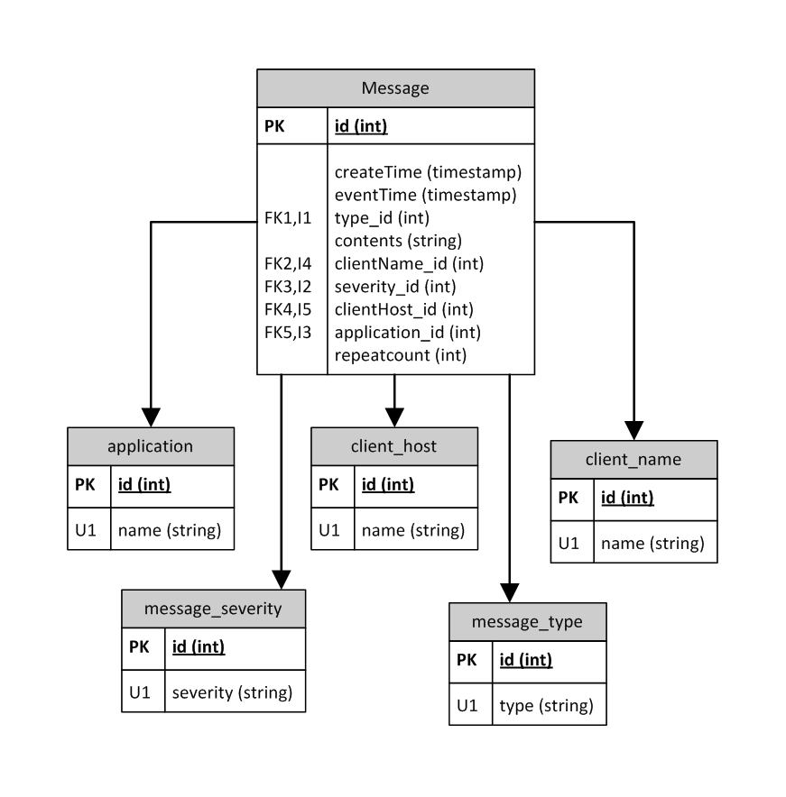
Message Log Database

Notes
The figures are made in Visio, and are stored in the images folder when you check out the Wiki.